Комплексные поставки материалов
для инженерных систем

Каталог продукции

Внутренние сети
Металлопластиковые трубы и фитинги RIFENG
Полипропиленовые трубы и фитинги
Полипропиленовые трубы и фитинги SPK
Полипропиленовые трубы и фитинги FV-PLAST
Трубы и фитинги ПВХ GENOVA
Внутренняя канализация
Трубная изоляция Стенофлекс 400
Шаровые краны RAVANI
Радиаторы отопления
Стальные радиаторы
Алюминиевые радиаторы
ТЕРМАЛ
SAHARA PLUS
CALIDOR SUPER
Котельное оборудование
Газовые котлы
RINNAI
KITURAMI
WORLD-5000
KSG
Дизельные котлы KITURAMI
TURBO
KSO
Комбинированные котлы KITURAMI KRM
Электрокотлы ЭВАН
Класс Стандарт-Эконом (ЭПО)
Класс Стандарт (С1)
Класс Комфорт (Warmos)
Класс Комфорт-М (Warmos-M)
Класс Люкс (Warmos-QX)
Класс Профессионал (ЭПО)
Котлы на твердом топливе WARMOS-TT
Котлы на твердом топливе WARMOS-TK
Циркуляционные насосы GRUNDFOS
Мембранные расширительные баки
Топливные баки AQUAtech
Антифриз THERMAGENT
Водонагреватели
Электрические проточные водонагреватели ЭВАН
ЭПВН (Эконом)
В1 (Стандарт)
ЭПВН (Профессионал)
Косвенные водонагреватели NIBE
NIBE MEGA
NIBE QUATRO
Теплонакопители NIBE BUZ / BU
Наружные сети
Трубы для наружной канализации ХЕМКОР
Гофрированная наружная канализация
Септики (ЛОС) БИОКСИ
Трубы напорные ПВХ ХЕМКОР
Стальные фланцы
Дренажные трубы
Трубы ПНД
Бытовые фильтры AQUAFILTER
Обсадные трубы ПВХ

Партнеры по успеху

https://luckysystems.ru

 

new_icon2

price2

price2

Электрокотлы ЭВАН. Класс Стандарт

Описание

Электрическией котел ЭВАН. Класс Стандарт

Серия ЭВАН С1, мощностью от 5 до 30 кВт

  • Простота монтажа, управления и технического обслуживания;
  • Единый корпус;
  • Блочные ТЭНы из нержавеющей стали;
  • Гарантия надежной работы при изменении напряжения питающей сети +10% от номинального значения;
  • Плавная регулировка температуры теплоносителя термостатом;
  • Двойная защита от перегрева;
  • Колодка для подключения циркуляционного насоса и датчика температуры воздуха.

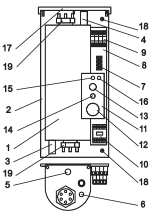
Устройство электрокотлов ЭВАН С1

ЭВАН С1 | Устройство электрокотла
  1. Котел;
  2. Панель;
  3. Входной патрубок;
  4. Выходной патрубок;
  5. Датчик термовыключателя;
  6. Датчик терморегулятора;
  7. Зажим клеммный (насос, датчик температуры по воздуху);
  8. Кронштейн;
  9. Блок клеммный;
  10. Контактор;
  11. Панель управления;
  12. Ручка терморегулятора "ТЕМПЕРАТУРА";
  13. Выключатель "СЕТЬ";
  14. Сигнальная лампа "НАГРЕВ";
  15. Предохранитель цепи управления;
  16. Предохранитель циркуляционного насоса;
  17. Закладная;
  18. Зажим заземления;
  19. Блок ТЭН.

Технические характеристики электрокотлов ЭВАН С1

Наименование прибора Напряжение, Вт Мощность, кВт Отопливаемая площадь, кв.м. Габаритные размеры, мм Вес, кг Диаметр патрубка вход/выход, дюйм Рабочее давление системы, Мпа
ЭВАН С1-5 220 5 50 645х250х180 20 1 1/4 0,3
ЭВАН С1-6 220 6 60 645х250х180 20 1 1/4 0,3
ЭВАН С1-7,5 220/380 7,5 75 645х250х180 20 1 1/4 0,3
ЭВАН С1-9 220/380 9 90 645х250х180 20 1 1/4 0,3
ЭВАН С1-12 380 12 120 645х250х180 20 1 1/4 0,3
ЭВАН С1-15 380 15 150 645х250х180 20 1 1/4 0,3
ЭВАН С1-18 380 18 180 645х250х180 24 1 1/4 0,3
ЭВАН С1-24 380 24 240 645х250х180 24 1 1/4 0,3
ЭВАН С1-30 380 30 300 645х250х180 24 1 1/4 0,3

 

Цены

 

ООО "Стройкомпакт" является официальным представителем компании ЭВАН в Санкт-Петербурге
Twitter
Нравится
SocButtons v1.5